

全国免费客服电话 0537-2558089 邮箱:www.qwdab.com
手机:0537-2558089
电话:0537-2558089
地址:济宁市任城区南张工业园
发布时间:2017-04-05 17:29:43 人气:1208
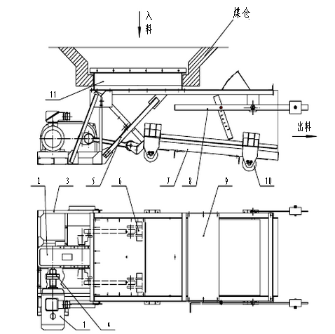
GMW系列往复式给料机结构
该系列给料机主要由隔爆电动机、减速机、联轴器、传动机架、H形架、曲柄连杆装置、给料底板、闸门、机架体、漏斗、滚轮体等几大部分组成(见图1)。
图1 GMW系列往复式给料机结构示意图 1.隔爆电动机 2.减速机 3.传动机架 4.联轴器 5.H形架 6.曲柄连杆装置 7.给料底板 8.闸门 9.机架体 10.滚轮体 11.漏斗
本往复式给料机的漏斗有两种安装形式:标准型和前置型。
一般情况下选用标准型,而在物料比较潮湿不易排料的情况下则选用前置型。
GMW型往复式给料机工作原理
GMW型往复式给料机(见图1)减速机输出轴两端装有曲柄,每个曲柄
带动一个连杆(或双曲柄带动Y形单连杆),连杆与给料底板连接。电动机驱动减速机,减速机带动曲柄连杆装置运动,连杆带动倾斜5°的给料底板作往复运动,将煤从仓内均匀给出。
相关推荐